Здесь будут обсуждаться основные свойства клинка меча. Напоминаем что клинок — основная часть клинкового оружия в виде стальной прямой или изогнутой полосы с однолезвийной или двулезвийной заточкой, или граненого стержня.Эти термины и определения, касаются главным образом клинков периода от эпохи викингов до возрождения. Клинки бронзового века, а также колониального и более позднего периодов, обладают уникальными свойствами, которые могут выходить за рамки этой статьи. Данные определения не предлагаются в качестве абсолютного. Любой опытный коллекционер или историк будет открыто признавать, что всегда есть исключения к каждому правилу, и ничего абсолютного нет. Эти определения предлагается в качестве ориентира для начинающего изучать холодное оружие и боевые искусства. Старая пословица "Чем больше я знаю, тем меньше я уверен в этом" очень хорошо иллюстрирует эту проблемы.
Изготовление клинков
Общее представление об изготовлении средневековых мечей в том, что их делал ремесленник, работающий в одиночку в кузнице, делая меч от начала до конца. Хотя это, возможно, действительно временами случалось, но это было далеко от нормы. Средневековые клинки были сделаны в гораздо более "современных" условиях, чем принято считать. Они часто ковались в крупных мастерских несколькими мастерами. Затем экспортировались в различные страны, местным воинам желающим вооружаться по последнему слову техники или по последней моде. Старинные клинки, которые отмечены маркой "Ulfberht" являются отличным примером. Сохранилось слишком много клинков которые имеют этот знак, они просто не могли быть сделаны одним человеком и этот человек не мог прожить двести лет. Ulfberht прямо как Smith & Wesson своего времени.
Профили современных клинков мечей выводятся двумя различными способами: ковка и съём.
Ковка — признанный традиционный метод где применяется молот и наковальня. Раскаленному клинку придают форму, а затем шлифуют и полируют. Это традиционный способ, требующий много времени, и в результате, более дорогой. И в результате мы все равно можем не получить качественный клинок, потому что последующая термообработка куда более важна.
Клинок получает свою твердость во время закалки. Затем он нагревается в последний раз и охлаждается на воздухе, то есть отпускается. Это позволяет клинку быть кроме твердости еще упруги и пластичным. Отпуск и закалка два метода термообработки, которые часто путают.
Можно также использовать дифференциальный процесс термообработки, то есть зональную закалку, и в результате получить твердые кромки клинка (лезвия) и мягкие но пластичные бока клинка. Это позволяет повысить эффективность удара при сохранении надлежащем поглощении удара клинком. Большинство современных производств реплик мечей использует процесс полной закалки, при котором процесс термообработки придает твердость всему клинку, клинки подвергшиеся зональной закалке стоят дороже.
Съём подразумевает спиливание всего лишнего с заготовки для получения правильного профиля клинка. В наши дни, иногда, берут полотно очень большой пилы и распиливают на несколько заготовок клинков. Современные методы съема не могут быть столь уж далеки от исторической нормы, как считалось ранее. Оба процесса могут производить клинки, которое является полностью функциональными и хорошо сделанными. Средневековые иллюстрации также показывают, использование больших жерновов для обработки металлических заготовок.
С точки зрения функциональности разница между ковкой и сьёмом не заметна. Тем не менее, многие (если не большинство) современных мастерских делают свои товары используя молот и наковальню в освященной веками традиции. Хотя мечи получаются более дорогими, они пользуются большим спросом. Есть много современных коллекционеров и мастеров боевых искусств, которые настаивают на кованых клинках ради исторической достоверности.
![]() |
![]() |
![]() |
| Процесс шлифования из Кентерберийского Псалтыря, около 1150 | Крейг Джонсон производит шлифование клинка | Разогревание клинка в кузне Крейга Джонсона |
Геометрия клинка
На данный период мы имеем в виду основные параметры меча: поперечное сечение, ширина лезвия, толщина, конусность и т. д. При измерении характеристик меча лучше использовать несколько параметров с целью получения как возможно более точных измерений. Миллиметры могут кардинально изменять динамические свойства меча. Это важно иметь в виду, особенно если собираетесь воссоздать существующий исторический экземпляр. Разность восьмой или шестнадцатой доли дюйма здесь или там могут привести к далеко не тому мечу которого клиент желает.
Поперечное сечение
Под сечением клинка мы понимаем срез клинка в попрек и пополам, то есть необходимо посмотреть на его срез и увидеть его сечение.
Ранние мечи варваров и даже викингов и как правило имеют линзовидные сечения. Оно похоже на яблочное семечко и выглядит так как будто ему не хватает сильного центрального хребта на боковинке клинка. Для того чтобы клинок был легкий и гибкий его необходимо было делать тонкими, но часто делали их достаточно толстыми, для прочности. От того что клинки этого периода были рассчитаны на рубящие и режущие удары их основной акцент был сделан на гибкость, а не на жесткость.
![]() |
![]() |
![]() |
![]() |
| Линзовидное сечение (англ. lenticular) | Ромбическое (англ. diamond) | Ромбическое с выпуклым центральным ребром (англ. hollow ground) | Уплощенное (англ. hexagonal) |
![]() |
![]() |
![]() |
![]() |
| Линзовидное с долом (англ. narrow fullered) | С двумя долами (англ. double fullered) | С широким долом (англ. broad fullered) | Скошенные долы (англ. opposing fullers) |
Так как доспехи улучшались стало распространяться и ромбическое сечение клинка. Оно состоит из четырех плоских граней, которые составляют форму уплощенного ромба с центральным хребтом на голомени (боковинке), лезвие образуют внешние грани. Ромбическое сечение у клинка еще может быть широким и плоским при использовании, однако, этот клинок будет проявлять больше жесткости, чем ранний линзовидный. И такой клинок является более эффективным в при колющих ударах. Мечи с выпуклым центральным ребром ромбического сечения имеют еще больше прочности, что особенно хорошо для кликов которые должны быть легкими, но клинок такого сечения уже неспособен рубить.
Клинки Уплощенного сечения также применялись среди прочих клинков. Уплощенное сечение представляет собой фигуру с шестью гранями. Две широкие (или узкие в зависимости от типа) грани, которые составляют плоские голомени и четыре меньших грани, которые формируют края лезвий. Клинки которые у острия ромбического сечения зачастую могут переходить в уплощенное сечение у пятки. В результате клинок получается универсальным, что делает его очень эффективным в бою. Клинки ромбической и уплощенной конструкции часто снабжались долами. Они были использованы для облегчения клинка не жертвуя при этом его целостностью, а также долы просто добавляют визуальные детали на клинок.
Обратим внимание на термин "Дол" — это канал на боковинке (голомени) клинка. Дол может быть широким или узким, мелким или глубоким, в зависимости от дизайна меча и способа фехтования. Это дол часто ошибочно называют "кровосток" или "кровяное русло". В самом деле, дол не имеет ничего общего с каким-либо телесными жидкостями, а предназначен для облегчения клинка без потери прочности, иногда дол формируется двумя ребрами жесткости.
Конусность
Клинок меча сужается в двух различных областях: по длине и по толщине клинка. Дистальная конусности ссылается на толщину клинка. Следует отметить, что как правило толщина клинка уменьшается от пятки к острию, например у толщина у пятки - 5 мм, у острия - 2мм. Это делается для того, чтобы у меча была высокая управляемость и хорошие механические характеристики. Дешевые современные (бугуртооптимальные) реплики, мечей как правило, не имеют конусности по толщине и могут показаться очень тяжелыми и неповоротливыми по сравнению с качественной реконструкцией меча определенного типа.
Дистальная конусности часто бывает непрерывной от пятки меча до острия, но не всегда. Для того, чтобы поддерживать хорошее сочетание массы и баланса, клинок может иметь конусность с шагом или конусность может продолжаться только на половину его длины. Когда собираешься сделать историческую реконструкцию важно учитывать и этот фактор, нужно фото и в профиль, но и с самых различных ракурсов.


Конусность по длине — это степень сужения ширины клинка по всей его длине. Ранние средневековые клинки, такие как тип X по Оакешотту не будет иметь большой конусности по длине так, как они в первую очередь для рубки в то время как клинки тип XII будет обладают повышенной конусностью, поскольку они были разработаны, чтобы клинком можно было и колоть. Конусность по длине чаще всего была непрерывной, но редко может быть со скачками, в результате чего клинок будет с небольшим "животиком". Еще раз! — это зависит от назначения оружия.
Точка баланса
Точка баланса (точка равновесия, англ. PoB point of ballance) меча — это центр тяжести. Эта точка часто находится на расстоянии длины пальца от гарды к острию клинка. Но точка равновесия может меняться в широких пределах от типа к типу. Меч раннего средневековья не будет иметь в том месте этой точки так же, как и шпага 18-го века. Многие начинающие коллекционеры мечей придают слишком большой акцент точке баланса. Заявление о том, что "Мои мечи должны иметь Точку баланса на расстоянии четырех дюймов от гарды" часто можно слышать от неопытного коллекционера. Если вышеупомянутый раннесредневековый рубящий меч будет иметь Точку баланса на два дюйма (5 см) ниже гарды, он, вероятно, не будет эффективно колоть независимо от того, насколько искусен фехтовальщик. Кроме того Рапира не должны иметь Точку баланса выше восьми дюймов от гарды.
Точка баланса только один маленький кусочек сложного пазла, который составляет меч. Вместо того чтобы спрашивать себя хорош ли меч с точки зрения наших личных пожеланий, мы должны спросить насколько меч считается "правильным" в соответствии с его назначением.
Прочность меча
Один из аспектов состава средневекового меча, который часто преподносится современными энтузиастами, но мало ими понимается, является твердость клинка. Многие будут использовать гипотезы и откровенные гадания при обсуждении твердости оригинальных мечей. Для адекватной оценки меча важно смотреть на материалы доступные для ремесленников этой эпохи, традиции изготовления клинков.
Подлинных клинков подвергшихся испытаниям не так много, но все равно мы можем описать в общих чертах то что хотим, но нужно учесть, что определенный процент мечей того периода отличается от большинства. Хотя в той или иной области можно было произвести продукт высочайшего качества в эту эпоху, общее качество производства стало бы сдерживающим фактором того какой клинок мастер может произвести. Большинство мечей, которые прошли тестирование по всей видимости, были изготовлены из смеси стали и железа. Эта неоднородная смесь углеродистых и легированных содержаний будет определяет возможное упрочнение клинка. Материал также был произведен при помощи термообработки и с твердостью, которая резко отличается от одной точки на клинке к другой. Есть несколько примеров, которые, однако, показывают достаточно однородное сочетание элементов и содержание углерода, но это в относительно небольшой группе тестировавшихся мечей. То немногое, что было описано на исторической части показывает диапазон содержаний и составов углерода, которое намного больше, чем стандартные спецификации современных сталей заводского производства.
![]() |
![]() |
![]() |
| Bladesmith - кузнец изготовляющий клинки | Шахтеры, работающие в шахте ок. 1482 г. | Крейг Джонсон кует клинок |
Однородные стали, используемые современными производителями — вероятно, крупнейший скачок от оригинальных материалов и учета всех аспектов того, что составляет реконструкция меча. Существует несколько вариантов наших современных сталей, используемых разработчиками сегодня, но это гораздо меньше вариаций, чем можно увидеть в средневековом клинке. Как и с любым отраслевым стандартом, он, как правило, выражается в диапазоне, а не в конкретном числе. Вот несколько примеров общих современных сталей для изготовления мечей:
| Тип стали | Содержание углерода |
| 1045 | 0.43-.50 |
| 1075 | 0.70-.80 |
| 6150 | 0.48-.53 |
| 5160 | 0.57-.62 |
В периоды бытования мечей который мы рассматриваем имеющееся признаки диапазоне разделим на несколько разновидностей. Они показывают уровни углерода от 0,1 до 0,8 может быть 0,6 или меньше. Это указывает на то, что даже в период наивысшего качества клинков этой группы диапазоны содержания углерода гораздо шире, чем у современных сталей.
Твердость клинка
На современном рынке есть много такого, что говорит о жесткости клинков. На самом деле существует тенденция не производить мечи, которые не удовлетворяют определенным критериям по конкретным шкалам твердости. Почему это происходит?
Вполне может быть желание наших современных умов запереться на окончательном отборочном признаке. Мы хотим сказать: "Это лучше чем То". Присущие проблемы мы создаем с этим подходом от того, что сталь не ведет себя таким образом чтоб было равновесие или гармония конкурирующих функций. Гибкость, пластичность, прочность на растяжение, состав материала и манипуляции с этими свойствами. И мастер будет манипулировать и всё будет иметь влияние на то каким получится конечный результат.
Есть три основных варианта тестирования на "жесткость" стали, на которые ссылаются в обсуждении клинков: шкала Бринелля, разработанная в Великобритании и используемая в основном в Европе; шкала Викерса, разработана в Великобритании, и чаще всего проявляется в литературе о тестирования исторических клинков, и шкала Роквелла C (на самом деле, начиная от А до В, но с диапазоном С мы имеем дело в этой статье), разработана в США. Каждая из этих методик испытаний поверхности материала связана с углублением индикатора на твердость определенной формы, а затем различными измерениями отмечается что получится и преобразовывается в номер согласно масштабу. Вот краткое описание методов без формул:
Бринелль
Это средний диаметр впечатление в испытательной среды. Когда он присутвует в списке, номер должен выглядеть следующим образом: 481 HB 10/500/30. Это переводится как твердость по Бринеллю 481 с использованием 10mm шарика с 500-килограмовой нагрузкой в течение 30 секунд. Этот тест, считается очень достоверным и точным.
Викерс
Этот процесс включает в себя меры площади поверхности пирамидального отпечатка в испытательной среды при заданной нагрузке и продолжительности, обеспечивая фактор, который затем может быть переведен в число Викерс. Обычно это достигается с таблицей преобразования. Номер будет представлен в виде 513 HV/10, что указывает на твердость по Виккерсу из 513 с 10 кг нагрузкой. Преимущество этой системы является использование одного масштаба, от верхней к нижней части диапазона твердости, и один индикатора типов во всем. обозначается VPH
Роквелл C
Тест Роквелла является мерой глубины проникновения, когда образец устанавливается в равновесии с испытательной машиной при малой и большой нагрузке. И результаты мы читаем прямо из машины. Этот тест быстрый для выполнения, но чувствителен к браку машины. Система Роквелла разделена немного произвольно, так как А. В. масштабы относятся друг к другу, но не совсем переводимы на другие системы. Существует общее понимание того, что Rockwell номера будет меняться +/- 2 очка в любом случае как приемлемый промышленный стандарт, т. е. 50Rc может быть на самом деле 48 и 52 и пройти общий производственный контроль. обозначается Кс.
Подробная справка о методах определения твердости, сюда
Из этих трех, мы выберем шкалу Роквелла С для дальнейшего исследования клинков мечей.
Твердость клинков по периодам
Прочность определяется как сопротивление материала царапинам и стиранию. Ранняя шкала оценки твердости шкала Мооса, где оценка проводится на сопротивление царапанию материала.
Так как современная промышленность ставит необходимость более точных измерений были внедрены другие системы. Измерения Бринелля и Виккерса приходит к их количеству путем измерения сопротивления растяжению, в то время как масштабы Роквелла более измерения сопротивления внедрению. Вот почему нет точной корреляции между масштабами, и почему Виккерс и Бринелль системы могут быть связаны примерно в некоторой мере прочности на растяжение, в то время как в Роквелле таких номеров нет.
Со знанием о том, как определяется твердость клинков, мы можем теперь посмотреть на некоторые из подлинных мечей. Глядя на проведенные испытания мы можем видеть что Средневековые производители мечей ставили своей целью и что средневековые заказчики покупали.
Сопоставление данных за разные периоды должно быть сделано тщательно. Главная цель для тех кто делает такого рода исследования должно быть установление истинного качества клинка.
Характерно то что мы можем видеть из показателей твердости это что твердость резко отличается по всему клинку, а не только от кромки клинка середине клинка, а буквально по всей длине клинка. Как например, меч датированный 11-13 век мечом в Hofjagd Rustkammer показывает диапазон твердости от 119 до 520 VPH в среднем твердость 217VPH. Этот меч был дополнительно протестирован с четырех образцов удаленных от клинка. Эти части были проверены и микротвердость колебалась от 258VPH к 329VPH, с среднем 300 VPH. Если бы мы бы описывали этот меч с использованием системы Роквелла, то мы должны были смотреть на кусок, который колеблется от 20Rc к 50Rc, с участками ниже 20Rc.

Этот график подробно показывает диапазоны твердости у нескольких средневековых клинков по сравнению с современными репликами, сделанными из маркированных сталей. Имейте в виду, что диапазон включает в себя все точки проверенные на мече, поэтому верхние и нижние номера могут обозначать только одну точку на клинке а не изменение от лезвия к середине клинка. Точка была применена чтобы указать где тестеры вычисляют среднюю твердость клика.
Общее число лопастей с документацией нескольких точек испытания было 20. Датировка мечей колебалась от 9-го по 16-ый век. Признавая, что это не достаточно большая выборка чтобы быть статистически значимой, они были разделены на группы по периодам, так как трудно сравнивать промышленные технологии в таком широком промежутке времени. Дополнительно два меча были испытаны, от 17 и 18 веков соответственно, они не были включены в график, хотя может быть интересно отметить что их средняя твердость была 441VPH (~ 45Rc) и 472VPH (~ 47Rc).
Группа с 9-го по 13-й век
Эта подгруппа состояла из 13 мечей. Диапазон твердости в группе колебался от 93VPH (не эквивалент Rc) до 650VPH (~ 58Rc), и эти клинки все показали различную твердость в разных частях клинка. Существовали признаки нескольких различных методов изготовления для одного и того же клинка.
Анализ термообработки показал, что большинство клинков были слабо закалены с различной степенью успеха, скорей всего использовались даже различные методы закаливания. Было еще два клинка, которые скорей всего не были закалены.
Группа 14-16 век
Эта группа из 7-ми клинков характеризовалась твердостью от 136VPH (> 20Rc) в 650VPH (~ 58Rc). Эти клинки были изготовлялись из одной заготовки из высоко углеродистой стали.
Эта группа показала попытки сделать качественную зональную закалку.
Важность выбора нескольких точек на клинке для проверки показана на некоторых ранних мечах в Wallace Collection исследованных Дэвидом Эджем и д-р Аланом Уильямсом благодаря которым можно подробно рассмотреть средневековый меч.

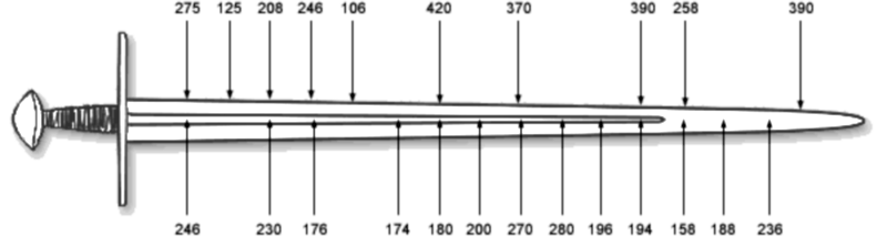
Этот рисунок детально показывают твердость по краю и середине меча 12 века (инв. номер 457 в Wallace Collection Лондон), (Меч B на рисунке 1). Меч был испытан через 5 см интервалы по кромке клинка и голомени со средними результатами 211 VPH в голомени и 279 VPH по кромке.
Кромка клинка (то есть лезвие), тут твердость является наиболее желанной. Если мы возьмем те клинки, которые были испытаны по кромке в 9 ти точках мы увидим следующие: Большинство мечей были с твердостью от 200VPH (> 20Rc) до 540VPH (~ 52Rc). Семь образцов ниже 460VPH (~ 46Rc), а остальные два показали 520VPH (~ 50Rc) и 540VPH (~ 52Rc). Средняя твердость лезвия у семи клинков: два меча из них 217VH (> 20Rc) и 476VPH (~ 47Rc) соответственно. Остальные пять мечей были: один на 279VPH (~ 27Rc), а остальные четыре с среднем между 133VPH и 217VPH (все > 20Rc).
Этот диапазон твердости, вероятно связан с двумя факторами: во-первых, клинок изготовлен из куска стали с переменным содержанием углерода в различных участках клинка, во-вторых были попытки сделать закалку отдельных участков клинка вместо полной закалки клинка. Неоднородное содержание углерода не позволяет провести полную закалку так как при резком охлаждении клинка его перекорежит от того что сталь с различным содержанием углерода по разному реагирует на резкое охлаждение при закалке.
Следующий график иллюстрирует сравнение образцов некоторых сталей, используемых для современных реконструкций клинков. Содержание углерода и твердость показаны. Современные образцы стремятся достичь твердости в 50 Rc как цель.

Это ясно показывает значительное преимущество современных сталей в изготовлении твердых мечей, по сравнению со средневековыми сталями.
Но вполне возможно что твердость не была сверхзадачей средневекового кузнеца. К тому же сталь для меча он делал сам и удалял примеси и наоборот науглероживал самостоятельно, это сейчас мы можем купить лист металла необходимого сорта, или перековать рессору или пружину от вагона поезда.

И для эффективного фехтования вязкость и пластичность клинка важнее. Мягкий металл плохо держит заточку. Поэтому мечи обычно не затачивали острее топора лесоруба. Вопрос нуждается в дальнейших исследованиях, а подвергать редкие и ценные исторически подлинные мечи механическим испытаниям не желательно.
Переведено мной статьи от MyArmory:




















