Так сложилось что составные части холодного оружия, в том числе и мечей, названия даются авторами книг в меру своей распущенности. Некоторые названия имеют несколько значений. А именно: "яблоко" это шарообразная деталь на верхушке рукояти меча, а может быть и боевой частью булавы, хотя для боевой части булавы есть своё название: "било". Такую путаницу можно объяснить тем что яблоком от меча также можно наносить серьезные удары. Также противоречие есть между определениями "эфес" и "рукоять" я считаю что это синонимы, но часто рукоятью называют только ту деталь меча за которую меч держат. Я же считаю что эта деталь называется "черенок", старорусское слово "черен" также подходит. Так же есть небольшая путаница с перекрестьем сабли и крестовиной меча, "перекрестье" — не синоним слова "крестовина". Но обо всем по порядку вы прочитаете дальше, новое определение помечено звездочкой "*" при нажатии на которую вы попадете прямо на его определение, если вы хотите вернуться к предыдущему блоку то нажмите в браузере кнопку «назад».
Образцы мечей:
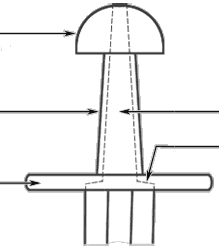
Меч* эпохи викингов
| Че | ренок* | |||||
| Яблоко* | Крестовина* | Дол* | Лезвие* | Острие* | ||
![]() |
||||||
| Хвостовик* | ||||||
| Рукоять* | Клинок* | |||||
| Яблоко (кончик хвостовика клинка расклепывается) Черенок Крестовина |
![]() |
Хвостовик Плечи клинка* |
Яблоко (приклепано к верхней гарде) Верхняя гарда Черенок ![]() Маленькая гарда* |
![]() |
![]() Заклепка Хвостовик Плечи клинка* |
| Меч тип X по Петерсену | Меч тип R по Петерсену | ||||
Длинный меч* — Риттершверт и ножны
| Щитик | Ребро | ||||||
| Хвостовик | крестовины* | Дол | Лезвие | жесткости* | Острие | ||
![]() |
|||||||
| Яблоко | Черенок | Крестовина | Сильная | Слабая | |||
| часть клинка* | часть клинка* | ||||||
![]() |
|
| Устье* | Наконечник ножен* |
Шпага* с гардой из дужек
| Клинок | ||||
| Дол | Ребро жесткости | Лезвие | Острие | |
![]() |
||||
| |
Широкая | Средная | Узкая | |
| часть клинка | часть клинка | часть клинка | ||
| Рукоять | ||||
| Расклепанный | ||
| кончик хвостовика | ||
| Дужка передняя* | ![]() |
Пуговка выступ на яблоке* |
| Яблоко | ||
Черенок рукояти |
Втулки рукояти | |
| Передний упор крестовины | ||
| Тыльный упор крестовины | ||
| Блокиратор крестовины | Упоры для пальцев | |
![]() |
|||
| Хвостовик | ![]() |
||
| Плечики |
|||
| Боковая дужка Нижнее кольцо гарды |
|||
| Рикассо* | Боковые дужки, плавно переходящие в переднюю дужку | Клинок |
Меч конца 16 века с закрытой гардой
| Кончик крестовины | Тыльный упор крестовины | Острие | ||||
![]() |
||||||
| Яблоко | Передний упор крестовины | Дужка от наружного | Долики | Лезвие | ||
| щитка | ||||||
| Рукоять | Клинок | |||||
Яблоко Дужка щитка Наружный щиток* Щиток для прикрытия костяшек пальцев Дужка щитка Дужка от наружного щитка |
![]() |
Расклепанный кончик хвостовика Боковая дужка Тыльная дужка Дополнительная тыльная дужка Боковой щиток Кончик крестовины Противоударные рожки |
Дужка щитка гарды Передняя дужка гарды Внутренний щиток Передний щиток Дужка щитка |
![]() |
Яблоко Черенок Дужка от наружного щитка |
Сабля*, рукояти сабель, ножны
| Черенок | Крестовина | Обух клинка* | Елмань* | |
![]() |
||||
| Головка рукояти | Перекрестье* | Лезвие | Острие | |
| Устье ножен | Кольца ножен* | Ушко гайки ножен | Наконечник ножен | |
![]() |
||||
| Обоймица* Обоймица | Башмак* | |||
![]() |
Рукоять сабли (две щечки* здесь образуют очень удобный для руки изгиб) Конец крестовины |
Дужка передняя ![]() Втулка* рукояти Щитик крестовины |
![]() |
Головка рукояти Планка на спинке рукояти* Черенок рукояти Конец крестовины |
|
| Конец крестовины |
Пояснения
Меч — клинковое оружие с прямым длинным широким клинком и простой гардой, состоящей обычно только из крестовины. Массивная головка рукояти меча служила в какой-то степени противовесом клинку.
Головка рукояти, эфеса (навершие, набалдашник, яблоко) — верхняя часть рукояти клинкового оружия. Может иметь самую разнообразную форму. Головка приклепывалась или навинчивалась на хвостовик клинка и служила скрепляющим эфес элементом. У некоторых видов клинкового оружия (мечи) массивная головка рукояти являлась противовесом клинка.
Черенок (черен) — часть рукояти (эфеса) клинкового оружия, закрепленная на хвостовике клинка и предназначенная для обхвата кистью руки. Представляет собой деревянную трубку или состоит из двух деревянных или роговых пластин — щечек. Трубчатые рукояти обычно покрывались кожей и обматывались проволокой.
Рукоять (эфес, крыж) — от немецкого «Gefass» — составная часть клинкового оружия, представляющая собой совокупность черенка, головки и гарды. Во многих случаях (кавказские и азиатские шашки, различные ножи и т. д.) рукоять состоит из одного только черенка и в таком случае он называется рукоятью.
Хвостовик (стержень, стебель) — отходящая от пяты клинка стальная полоса или стержень, на котором смонтирована рукоять клинкового оружия.
Крестовина (огниво) — узкая металлическая граненая или плоская планка, расположенная между рукоятью и клинком перпендикулярно им. Один конец крестовины у многих видов клинкового оружия переходит в переднюю дужку, соединенную с головкой рукояти. Крестовина часто называется ограничителем.
Дол (долик, желоб, кровосток) — продольный желобок на клинке, служащий для его облегчения. Клинок может иметь один или несколько долов или доликов разной длины и ширины.
Лезвие — заточенная кромка клинка, наконечника копья или топора.
Клинок (полоса) — основная часть клинкового оружия в виде стальной прямой или изогнутой полосы с однолезвийной или двулезвийной заточкой, или граненого стержня. Сечение клинка могло быть самым разнообразным: шестигранным или ромбовидным (шпаги), клиновидным (сабли) и т. д. Для обозначения плоскости или стороны клинка иногда используется устаревший термин «голомень».
Грань клинка — (голомень) часть плоскости клинка, ограниченная двумя ребрами или ребром и лезвием.
Острие — колющий конец клинка, точка соединения линий обуха (или скоса обуха) и лезвия.
Плечо клинка (пята, основание) — верхняя не заточенная часть клинка, непосредственно прилегающая к рукояти. На пяте обычно ставились клейма.
Гарда (гард, решетка, огниво) — от французского «garde» — совокупность защитных элементов эфеса клинкового оружия. Может состоять из крестовины, дужек, чашки. Гарды с большим количеством пересекающихся дужек иногда называют корзинчатыми или решетчатыми.
Меч в полторы руки — разновидность меча с длинным клинком, рукоять которого могла обхватываться одной или двумя руками.
Ребро жесткости — выступ на полосе клинка необходимый для увеличения прочности и жесткости клинка.
Сильная часть клинка (forte) — здесь клинок имеет набольшую толщину, здесь, возле гарды лучшая защита. Это часть клинка, которой рекомендуется парировать удары.
Слабая часть клинка (foible) — часть клинка у острия, меньше всего подходит для парирования. Противник может получить больший контроль над нашим оружием, если парировать этой частью.
Ножны (ножна) — металлический, деревянный или кожаный футляр для клинка, снабженный какими-либо приспособлениями для подвески (кольца, крючок, скоба и т.д.). Ножны подвешиваются к поясной или плечевой портупее с помощью так называемых пасовых ремешков.
Устье (верхний наконечник, верхняя оковка, верхняя обоймица) — верхняя деталь металлического прибора кожаных или деревянных ножен клинкового оружия, предохраняющая верхний конец ножен от повреждений. Устьем иногда называют также и отверстие, в которое вставляется клинок при вкладывании в ножны.
Наконечник ножен (бутероль) — нижняя деталь металлического прибора деревянных или кожаных ножен, предохраняющая их конец от повреждений.
Шпага — от итальянского «spada» — клинковое оружие с длинным прямым узким или средней ширины клинком и сложной гардой, состоящей из чашки, одной или нескольких дужек различной формы и крестовины, или только из системы дужек и крестовины.
Дужка (косица, бигель) — составной элемент гарды клинкового оружия. Передняя дужка соединяет головку рукояти с крестовиной или чашкой. Боковые дужки обычно ответвляются от передней и соединяются с чашкой или крестовиной.
Щиток — широкая часто узорчатая пластинка пластинка, составная часть гарды.
Чашка эфеса — плоская или выгнутая в сторону острия клинка металлическая пластина разнообразной формы, смонтированная на крестовине и являющаяся составной частью гарды.
Пуговка — полукруглый или граненый выступ сверху на головке-навершии рукояти, для фиксации кончика хвостовика клинка.
Рикассо — не заточенная часть в основании клинка некоторых двуручных мечей и шпаг. Задействовалась при обхвате пальцами крестовины и основания клинка, поэтому защищалась дужками, расположенными под крестовиной.
Лопасть — подвешивавшаяся к поясному ремню большая конусовидная кожаная или матерчатая петля, в которую вставлялись ножны клинкового холодного оружия или штыка.
Прибор ножен (оправа, набор) — металлические обкладки па кожаных или деревянных ножнах. Обычно состоит из устья, одной или нескольких гаек (обоймиц) и наконечника.
Сабля — клинковое оружие с длинным изогнутым однолезвийным клинком и довольно простой гардой, с 17 века в Западной Европе распространяются сабли со сложными гардами.
Елмань — расширенная нижняя часть клинка, имеющая двулезвийную заточку. Встречается преимущественно у восточных сабель. В XVII-ХIX веках клинки с елманями изготавливались и для некоторых образцов европейских сабель.
Обух (обушок, тупье, тылье, спинка) — не заточенная кромка клинка, противоположная лезвию.
Перекрестье (огниво, крыж) — полукруглые или прямоугольные расширения или накладки в средней части крестовины, расположенные перпендикулярно к ней. Перекрестье служило для захвата клинка противника, а также для удержания клинка в ножнах.
Кольцо — деталь ножен клинкового оружия, к которой крепится пасовый ремешок портупеи.
Щечка — пластина из кости, рога, дерева, пластмассы, камня или другого материала, скрепленная с хвостовиком клинка заклепками или винтами. Рукоять клинкового оружия образовывалась двумя щечками.
Втулка — (оковка, больстер, гайка) — широкая металлическая кольцеобразная или граненая деталь на рукояти клинкового оружия, фиксирующая щечки рукояти на хвостовике клинка, а также предотвращающая их раскалывание.
О6оймица (оковка, обойма, бряцар) — широкая фигурная металлическая обкладка в средней части ножен, имеющая ушко с кольцом для пасового ремешка портупеи.
Гайка — узкая металлическая пластина, обхватывающая ножны и имеющая ушко с кольцом для ремешка портупеи. Широкие фигурные гайки обычно назывались обоймицами.
Башмак (гребень, гребешок, гривка) — металлическая фигурная пластина, предохраняющая наконечник ножен от протирания при волочении по земле. Особым шиком считалось крепление в башмаке вращающегося колесика, при атом сабля или палаш не просто касались брусчатки или асфальта, а катились рядом с владельцем. Такую вольность, мода на которую пришла из Германии, позволяли себе только некоторые офицеры русских гвардейских кавалерийских полков, квартировавших в столице.
Портупея — от французского «porte-epee» — система ремней для подвески и ношения клинкового оружия.
Пасовые ремни портупеи — короткие ремешки, соединяющие основной плечевой или поясной ремень портупеи с ножнами клинкового оружия. Продевались в кольца или скобы па ножнах.
Скоба — выгнутая прямоугольная или полукруглая деталь на устье ножен, предназначенная для продевания короткого пасового ремешка портупеи.
Планка — металлическая продолговатая пластина, покрывающая спинку рукояти клинкового оружия по всей ее длине.
Уровень кривизны и прочие геометрические параметры
Для клинкового оружия: замеряется общая длина, длина клинка, ширина клинка у основания (если есть — ширина елмани, ширина в сужении в средней части); при взвешивании оружия приводится масса в ножнах и без ножен. Если клинок имеет кривизну, может замеряться также и кривизна клинка. Обычно, если об этом заходит речь, авторы предлагают следующий метод измерения кривизны клинка. Проводится воображаемая прямая линия между острием клинка и точкой соединения обуха и эфеса. На нее опускается перпендикуляр: а) от крайней точки дуги лезвия (1-й вариант), б) от крайней точки дуги обуха (2-й вариант). Затем замеряется расстояние от точки соединения перпендикуляра и прямой линии до острия, и показатель максимальной кривизны клинка дается в виде дробного числа, например 65/280, в котором первое число — длина перпендикуляра. Второй вариант измерения не отражает объективно степень кривизны режущей кромки клинка — лезвия. Чтобы убедиться в этом, достаточно посмотреть на некоторые виды восточного клинкового однолезвииного оружия, у которых обух клинка минимально удален от прямой линии или даже находится по другую ее сторону, а линия лезвия при этом достаточно выгнута (кукри). Более того, искривленные клинки некоторых восточных кинжалов вообще не имеют обуха. В этом случае, если выводится показатель кривизны, перпендикуляр опускается па прямую линию, соединяющую острие и точку основания более короткого лезвия.
Линейные размеры оружия указываются в миллиметрах, масса — в граммах.
![]() |
||
| Измерение общей длины и ширины клинка | Традиционный метод измерения клинка | На этом рисунке хорошо видна разница в показателях между традиционным и предлагаемым методами. |
В.Н. Попенко. Холодное оружие Востока и Запада. Москва. 1992.
Джеральд Уинланд/ Мечи Шпаги и Сабли Настольная книга коллеционера. М.: Тривиум. 1991
Хорев В. Н. Реконструкция старинного оружия / В. Н. Хорев. — Феникс, 2006. — 249,
Emil Vollmer Werlag. Blanke Waffen.
Квасневич Влоджимеж. Польские сабли. - СПб. ООО "Издательство Атлант" 2005.
Кирпичников А. Н. О начале производства мечей на Руси (Труды VI Международного Конгресса славянской археологии. Т.4. М., 1998. С. 246-251)
Кирпичников А. Н. Древнерусское оружие. Выпуск 1. Мечи и сабли (М.: Л., 1966)



Хвостовик 













