РАСКОПЫ 9-10
Были разбиты на восточной окраине памятника в пределах линии укреплений (рис.2; 9). Они располагались у края городища на ровной, слегка наклонной площадке, в 200 м к югу от яра, на котором обрывается эскарп. Площадка, где были разбиты раскопы, несколько возвышалась над окружающей местностью, и поэтому представляла собой интерес в плане постройки оборонительных сооружений. Благодаря этому ее поверхность была сильно повреждена окопами и оборонительными линиями, сооруженными во время Великой Отечественной войны.
Раскопами 9-10 был вскрыт, фактически сплошной площадью крупный участок (около 745 м2) (Р.9 — 520 м2 и Р.10 — 224 м2). На нем были расчищены котлованы двух построек (помещения 9 и 10), 10 хозяйственных ям и два скопления тарной керамики в слое.
Стратиграфическая ситуация на раскопах достаточно интересна, т.к. данный участок никогда не распахивался. Верхний слой представлен дерном, мощность которого не превышает 0,1 м. Ниже него идет слой гумусированной супеси толщиной 0,5-0,6 м. Над древними ямами, имеющими мешаное заполнение, этот слой разделяется на два горизонта. Верхняя его часть (мощностью до 0,2 м) перекрывает заполнение ям и содержит материалы времен Великой Отечественной войны.
Ниже уровня -0,25-0,3 м в слое гумуса встречаются находки. В абсолютном большинстве квадратов они немногочисленны и представлены единичными фрагментами керамики, колотыми костями животных и отдельными железными предметами. Иногда в этом слое, на уровне -0,25-0,4 м, наряду с материалами салтово-маяцкой культуры встречались фрагменты керамики эпохи поздней бронзы – раннего железа и кремневые отщепы неолитического времени, поднятые средневековыми перекопами из более ранних слоев.
В слое гумуса на территории раскопов 9-10 встречены материалы эпохи средневековья, отдельные находки сарматского времени и эпохи поздней бронзы. Находки сарматского времени и керамика бронзового века залегают практически на одной глубине (-0,45-0,5 м). Так, в квадрате И-9 на уровне -0,45-0,5 м от СП был обнаружен развал лепного горшка, который относился к эпохе поздней бронзы (рис. 39, 1). На этом же уровне встречены обломки лепных горшков с косыми вдавленнями или насечками по краю венчика (рис. 40, 2, 3, 5). Близкая по составу теста, профилировке и орнаментации керамика широко представлена в материалах раскопок Святогорского городища и на кочевом стойбище, остатки которого изучались на поселении Казачья Пристань (у пос.Райгородок Славянского р-на Донецкой обл.) (Кравченко Э.Е., Швецов М.Л., 1995; Кравченко Э.Е. и др., 1999). Немногочисленность этих находок, отсутствие их скоплений на площади раскопа свидетельствуют в пользу того, что в эпоху поздней бронзы и сарматское время господствующая над поймой возвышенность использовалась в качестве кочевого стойбища.
В предматерике, подстилающем гумус, на уровне 60-70 см от СП встречены материалы неолитического времени4. Материк в южной и западной части раскопа представлен глиной желтого цвета (-0,75 м). В северо-восточной части материком является мел, залегающий сразу под тонким слоем глины.
[quote] 4 В данной работе не публикуются. [/quote]
В раскопе 9 расчищено 2 помещения (9 и 10), 7 хозяйственных ям (хоз. ямы 1-7), скопления астрагалов и тарной керамики хазарского времени.
Хозяйственная яма 1. Западная часть раскопа (рис.9; 13, 2). Яма фиксировалась на бровках раскопа по гумусному заполнению с включением линз глины. В плане контур ее был четко зафиксирован на уровне материка. Яма имела круглую форму (диаметр в верхней части – 2 м) и расширялась до 2,2 м книзу. Ее дно, вогнутое в центральной части, находилось на уровне -1,8 м от СП. Находки, встреченные в ее заполнении, немногочисленны и представлены колотыми костями животных и фрагментами керамики, датировка которых варьирует от неолитического периода до хазарского времени.
Хозяйственная яма 2. Располагалась в центральной части раскопа (рис.9; 13, 5). Яма в плане была цилиндрической. Верхняя часть ее заполнения (до уровня -0,8 м от СП) отличалась от нижней. Она была заполнена гумусом, осветленным примесью большого количества мелких кусочков мела. Этим же грунтом заполнялась верхняя часть расположенной рядом с комплексом хозяйственной ямы 4. Следует обратить внимание, что на разрезе, проходящем через эти два комплекса (рис. 13, 3), четко видно, что этим же грунтом заполнено и пространство между двумя указанными ямами, которое первоначально представляло собой какое-то углубление. Контуры этого углубления не читаются в плане, не удалось проследить его границы и на бровках раскопа. Судя по всему, грунт, заполнявший верхние части ям, был выброшен из котлована помещения 9, расположенного к северу от указанных комплексов. Нижняя часть хоз. ямы 2 имеет гумусное заполнение.
Хозяйственная яма 3. Располагалась в западной части раскопа (рис.9; 13,1). По конфигурации и характеру заполнения она не отличалась от хозяйственной ямы 1. В плане и на бровках яма была четко зафиксирована на уровне предматерика, где ее диаметр достигал 2,1 м. У дна диаметр ямы составлял 2,4 м. Чуть вогнутое в центральной части дно находилось на уровне -1,95 м от СП. В ее заполнении на разных глубинах встречены немногочисленные находки: керамика от неолита до сал-тово-маяцкой культуры, колотые кости животных, кремневые отщепы.
Хозяйственная яма 4. Расположена к западу от хозяйственной ямы 2 (рис.9; 13, 3). Имела форму неправильного овала 2,2x2,6 м. Как и яма 2, хоз. яма 4 фиксировалась под верхним слоем іумуса по характерному заполнению верхней ее части (осветленный меловой крошкой гумус). Судя по неровным краям и характерному заполнению нижней части, яма неоднократно обваливалась. Первоначально она имела в плане овальную форму и колоколообразно расширялась книзу. Нижняя часть хоз. ямы 4 была врезана в меловой материк. Дно ее находилось на уровне -2,05 м от СП.
Стратиграфические наблюдения свидетельствуют, что хозяйственные ямы 2 и 4 существовали одновременно и, по всей видимости, одновременно были заброшены. Через некоторое время, когда эти ямы обвалились и частично заплыли землей, к северу от них был выкопан котлован помещения 9. При возведении постройки (которая тоже имела хозяйственное назначение) производилась планировка грунта вокруг нее. Причем для этого использовался смешанный с мелом грунт, вынутый при сооружении котлована. Таким образом, здесь мы имеем случай стратиграфии, свидетельствующий, что помещение 9 относится к более позднему периоду, чем хоз. ямы 2 и 4.
Хозяйственная яма 5. Располагалась в западной части раскопа (рис.9; 14,1). Фиксировалась на уровне предматерика (0,6-0,7 м от СП) по черному заполнению. Яма имела в плане округлую форму. В поперечном сечении нижняя ее часть была цилиндрической. Заполнение археологического комплекса почти полностью лишено находок: в нем найдено всего несколько фрагментов керамики. На уровне 0,1 м выше дна ямы лежал крупный фрагмент небольшой корчаги из красноватой глины (рис. 30, 1).
Хозяйственная яма 6. скопление 1. Хозяйственная яма была обнаружена в квадрате А-9 (рис. 9; 14, 2). В этом квадрате, как и в граничащих с ним, на уровне -0,2-0,3 м от СП находилось скопление обломков тарных сосудов (скопление 1). Отдельные фрагменты залегали глубже (до уровня -0,5 м), обозначая, таким образом, неровности древней дневной поверхности.
Среди фрагментов представлены обломки гончарных пифосов и двух красноглиняных фляг. Одна из них (рис. 39, 5) (небольшая тонкостенная) сделана из плотной глины кирпично-красного цвета. Крышка ее, судя по остаткам, не имела каких-либо дополнительных украшений. На донышке имеются концентрические борозды, образовавшиеся при снятии предмета с круга при помощи шнура. Вторая фляга (рис. 39, 6) изготовлена из теста светло-розового цвета с примесью песка. Она имела не столь качественный обжиг, в результате чего черепок на изломе двух-трехслойный. Крышка фляги орнаментирована концентрическими кругами. На дне также присутствуют следы, образовавшиеся при срезке ее с круга. По своим размерам указанная фляга была намного больше, чем первая. Судя по обломкам крышки, ее диаметр составлял не менее 29-30 см. Кроме фляг, в скоплении находились обломки нескольких гончарных пифосов, разбитых на мелкие фрагменты. Из них реконструируется один сосуд. Он представлял собой тонкостенный серолощеный пифос, украшенный в месте наибольшего расширения горизонтальным поясом волнистой линии, образованной при помощи дуг. Высота пифоса — 52 см, наибольший диаметр — 42 см (рис. 33, 2). Еще два сосуда были украшены в месте наибольшего расширения горизонтальным поясом из косых оттисков гребенчатого штампа, образующих елочный орнамент (рис. 27, 5; 32, 2). Фрагменты одного из них (чернолощеного) были найдены в заполнении хозяйственной ямы 6. Обломки другого, красноглиняного, просели в заполнение хоз. ямы 7 (рис.32, 2). Крупный сосуд, изготовленный из теста с большой примесью песка, декорирован в верхней части чередующимися полосами линейного и волнистого орнамента (рис. 34, 3). Кроме указанных сосудов, среди обломков встречены фрагменты стенок, днищ и венчиков еще как минимум 2-3 гончарных серолощеных пифосов. Указанное скопление уходило в южную бровку раскопа. Скорее всего, оно представляло собой мощенную фрагментами керамики площадку, близкую к прилегающим ямам, в которых стояли верхние или нижние части пифосов.
Зачистка площадки квадрата вокруг описанного скопления сосудов дала аморфный контур пятна, имеющего диаметр около 1,95 м. Судя по всему, первоначально на этом участке находилась яма, имевшая диаметр около 2 м, которая была вырыта в верхнем гумусном слое. Она не была углублена в материк, в связи с чем контур ее ни в плане, ни в разрезах проследить не удалось. Когда яма осыпалась, на этот участок стали ссыпать мусор, представленный в основном обломками тарных сосудов. Часть этих обломков заполнила заплывшую яму.
Хозяйственная яма 7. Обнаружена в юго-западной части раскопа (рис. 9; 16, 2). Южной своей частью она вышла за пределы раскопа и была оконтурена при помощи прирезки. С восточной стороны ямы зафиксировано несколько фрагментов красно-глиняной корчаги, располагавшихся на различных глубинах (рис. 16, 2; 32, 2). Они попали со слоя свалки в заполнение заплывшей ямы. Это хорошо видно по уровням залегания указанных фрагментов. Здесь же были встречены обломки полностью разложившегося красноглиняного сосуда. Контуры ямы хорошо читались на уровне супесчаного материка. Она имела форму неправильного овала размерами 2,55x1,65 м. Длинной осью яма была вытянута по линии С-Ю. Заполнение комплекса имело черный цвет. На уровне -1,40 м от СП вдоль восточной стенки ямы находилась материковая ступенька. Находок в заполнении ямы немного. Они представлены всего несколькими фрагментами красноглиняных амфор. В нижней части заполнение ямы меняется. Особенно четко это прослежено у западной ее стенки. Здесь выше дна были встречены линзы древесного угля. У самого дна ямы, на уровне -1,9 м, был найден в разбитом виде большой фрагмент (2/3 целого сосуда) сероглиняного кувшина с цилиндрическим горлом (рис. 30, 2). Дно ямы находилось на уровне -2,16 м от СП.
Скопление астрагалов. Обнаружено в квадрате 0-1 раскопа 9. Группа астрагалов крупного рогатого скота в количестве не менее 6 штук залегала компактной кучкой в слое гумуса на уровне -30-50 см от СП (рис. 12, 4). Наиболее вероятно, они находились в неглубокой ямке. Так как на данном участке памятника залегающие в слое кости имели плохую сохранность, точно указать первоначальное количество астрагалов сложно. Некоторые из них полностью разложились.
Помещение 9. Расчищено в квадратах В-Г-Д-2-3. Котлован фиксировался сразу под верхней частью гумусного слоя по своему заполнению — гумусу, осветленному большим количеством кусочков мела. Контур помещения четко читался на уровне материка. Котлован, ориентированный по сторонам света, имел прямоугольную форму с закругленными углами (4x2,5 м) и был вытянут длинной своей осью по линии 3-В (рис. 9; 12, 1; 68). От южной стены котлована отходила материковая перемычка, которая как бы разделяла площадь постройки на две части. Вдоль противоположной стенки котлована шел невысокий уступ, обрывающийся напротив перемычки. Всю западную часть котлована постройки занимала большая круглая хозяйственная яма, колоколовидно расширяющаяся книзу (диаметр верхней части – 2,2 м; нижней – 2,4 м). Плоское ее дно было углублено в меловой материк и находилось на уровне – 1,9 м от СП. Пол в восточной части помещения располагался на глубине -1,35 м от СП. Здесь, у южной стены, находилось 2 столбовых ямки (я-2 и я-3), которые, скорее всего, были связаны с конструкцией входа в помещение.
Находок в заполнении котлована очень немного. Они представлены фрагментами кухонных горшков с полосчатым рифлением, амфор и серолощеных крупных тарных сосудов. На полу помещения, у его северо-восточного угла, был найден железный нож с прямой спинкой (рис. 43, 12).
Помещение 10. Располагалось в квадратах Л-М-Н-1-3 (рис. 16, 1; 75). Представляло собой по-луземляночную постройку прямоугольной формы (3,2x1,85 м), ориентированную углами ВЮВ — ЗСЗ. В северном ее углу находилась хозяйственная яма круглой в плане формы с расширяющимися книзу стенками. На ее дне лежала вверх нерабочей частью зернотерка (рис. 16, 7; 40, 1). Собственно, обе ее поверхности могли использоваться. Верхняя и нижняя части зернотерки были вогнуты и имели покрытие точечной набивкой. Кроме зернотерки, на дне ямы и в ее заполнении каких-либо находок не было обнаружено. Мало было находок и в заполнении котлована помещения. Здесь в небольшом количестве были встречены колотые кости животных и фрагменты керамики салтово-маяцкой культуры. Основная часть обнаруженного материала была найдена на дне котлована помещения. Вдоль северной его стенки на полу была найдена группа железных гвоздей. Еще одна группа гвоздей находилась вдоль южной стенки котлована. Там же, несколько отступая от стен, вдоль северной и южной стенок котлована находились лежащие в ряд, параллельно друг другу, железные пластинки с двумя штырями-заклепками (рис. 43, 6-8). Длина полностью сохранившихся заклепок составляла до 4 см, что, по всей видимости, равнялось толщине досок, которые этими пластинами скреплялись. Судя по всему, описанные выше предметы были деталями конструкции деревянного пола помещения.
В центральной части, на полу котлована и у входа в хозяйственную яму, были обнаружены вдавленные в пол фрагменты стеклянных сосудов (рис. 16, 1; 12, 2; 41, 7, 9). Среди них находилось горлышко флакона из белого тонкого стекла, ножка стопки из зеленого стекла, а также фрагменты стенок из белого и зеленого стекла, имеющие толщину до 1 мм.
В центре постройки, чуть ближе к северной стенке котлована, были найдены железная гирька (рис .43, 2), корродированный наконечник трехло-пастной стрелы (рис. 43, 1), фрагмент стенки груболепного пифоса и согнутый пластинчатый ключ (рис. 43, 4). Еще один ключ, также согнутый пополам (рис. 43, 3), находился у южной стенки помещения. У восточной стены котлована было найдено пряслице, выточенное из стенки сосуда (рис. 41, 6) и железная пряжка (рис. 43, 5). У западной стенки котлована лежало горлышко кувшина с плоской ручкой. Зачистка пола помещения показала, что постройка имела столбовую конструкцию стен. Столбовые ямы располагались следующим образом. Две глубоких столбовых ямки, слегка наклоненные внутрь помещения, находились друг напротив друга в восточных углах постройки. К западу от них, вдоль северной и южной стен, располагались две подрубки вытянуто-прямоугольной формы. В поперечном сечении они были подтреугольные. Западнее находились две ямы от столбов, расположенных друг напротив друга. Еще далее к западу располагались две неглубоких ямки, скорее всего, от столбов-упоров. В ЮЗ углу находилась еще одна столбовая яма, а в месте границы помещения и хоз. ямы располагалась прямоугольная подрубка. На фотоснимке помещения фиксируется еще одно пятно, которое в процессе зачистки зафиксировано не было. Причиной этого был темный цвет предма-терика и материковой глины, на фоне которых небольшие пятна, если они не проходили через бровки, читались плохо. Вполне вероятно, что это пятно также представляло собой столбовую яму, расположенную к югу от хозяйственной ямы за пределами стенок котлована (рис. 75).
РАСКОП 10
Располагался к востоку от раскопа 9, непосредственно прилегая к нему (рис. 9). Раскоп имел прямоугольную форму и состоял из расположенных с запада на восток 7 линий квадратов (A-Ж) и 9 линий квадратов (1-9), расположенных с севера на юг. К северо-восточному ушу раскопа был прирезан квадрат 2x2 м, с целью оконтурить скопление фрагментов керамики (т.н. скопление 1). В связи с тем, что к северной части раскопа прилегали повредивший площадку блиндаж и примыкающая к нему линия окопов времен Великой Отечественной войны, здесь были выбраны только квадраты Е-Ж-5-9. Таким образом, общая площадь раскопа составила 224 м2.
На этой площади были вскрыты 1 скопление фрагментов керамики (скопление 1), и 3 хозяйственных ямы. В верхнем слое раскопа (0-0,3 м от СП) был встречен ряд железных предметов (рис. 35, 6; 42, 3, 4, 7).
Стратиграфическая ситуация мало отличалась от той, которую мы проследили на раскопе 9. Единственным отличием было то, что в восточной части раскопа (линии квадратов А-Г) сразу под слоем гумуса, достигавшем мощности до 0,5-0,6 м, находился меловой материк. Кроме этого, выкид из хоз. ямы 1 лежал непосредственно на материке (рис. 15, 5). Все это свидетельствовало, что участок на краю городища подвергался планировке в хазарское время. В пользу этого говорит и тот факт, что в раскопе 10 все ранние материалы лежали в одном слое с материалами поздними. Так, в ряде квадратов были встречены фрагменты неолитической керамики, кремневые орудия и отщепы, которые лежали на одном уровне (-0,2-0,4 м) с находками хазарского времени.
На большей части раскопа гумус подстилался меловым материком. На западной и южной его частях местами присутствовал слой предматерика мощностью до 0,3 м. В южной части раскопа под слоем іумуса располагался предматерик – гумус, осветленный глиной. Он не содержал находок и подстилался материковым суглинком.
Как выше указывалось, в раскопе 10 было обнаружено небольшое количество археологических комплексов – 1 скопление материала и три хозяйственных ямы.
Скопление 1. Расчищено в квадрате А-1 (рис. 9). Здесь на уровне -0,3 м от СП найдены фрагменты груболепного пифоса. Верхняя часть сосуда стояла горизонтально на венчике (рис. 14, 5; 72). Внутри пифоса и к югу от него лежали фрагменты стенок. Тем не менее, судя по сохранившимся фрагментам, все обломки, найденные на этом участке, представляли собой куски верхней трети сосуда. К востоку от пифоса лежали фрагменты большого красноглиняного кувшина крымского (?) производства. Кувшин имел широкое горло, конически расширяющееся книзу. Он был сделан из керамического теста розового цвета без грубых примесей. Цвет на изломе равномерный и лишь в наиболее толстых местах имеются серовато-желтые прослойки. В целом же, по качеству обжига, характеру теста и обработке поверхности указанный сосуд не отличается от привозной амфорной керамики. Венчик кувшина не сохранился в связи с чем его конфигурация, равно как и высота горла, не ясны. Корпус имеет яйцеобразную форму, наибольшее расширение, судя по всему, приходится на его среднюю часть или верхнюю половину. Дно плоское. От горлышка к плечикам сосуда отходят две широких массивных ручки, имеющие на верхней плоскости двойное ребро. Скорее всего, они крепились несколько ниже венчика (рис. 32, 1). Обращает внимание характерный способ крепления ручек к сосуду. Они присоединены при помощи небольших керамических штырьков-соединителей, входящих одной стороной в ручку, а другой — в горлышко или стенку кувшина. Обломок ручки с подобным способом крепления встречен в слое раскопа 9.
Нижняя часть горлышка кувшина украшена зигзагом, нанесенным при помощи гребенчатого штампа. Судя по имеющемуся среди обломков фрагменту корпуса сосуда, в месте наибольшего расширения он был орнаментирован горизонтальным поясом оттисков косо поставленного гребенчатого штампа, образующих елочную композицию.
Кроме указанного кувшина, в скоплении 1 раскопа 10 были найдены фрагменты стенки гончарного пифоса с ручкой (рис.27, 3) и обломок венчика гончарного горшка с полосчатым рифлением по корпусу.
Хозяйственная яма 1. Обнаружена в квадратах Б-В-5-6 (рис. 9; 15, 5). Яма была вырублена в меловом материке. Выкид из нее фиксировался на бровке и лежал прямо на материке. По всей видимости, яма носилась к раннему периоду истории городища. Расположенные в ряд с ней ямы 1-4 раскопа 9 свидетельствуют об их одновременности. Скорее всего, к раннему горизонту относились и хозяйственные ямы 6 и 7 раскопа 9.
В заполнении хозяйственной ямы 1 раскопа 10 и на ее дне находились фрагменты груболепного пифоса. Вместе с ним был обнаружен венчик неолитического сосуда. Стенки ямы были обвалены. Наиболее вероятно, первоначально яма имела круглую форму со стенками, которые колоколообразно расширялись книзу.
Хозяйственная яма 2. Располагалась к северу от хозяйственной ямы 1 в квадратах В-2-3. Нижняя часть ямы была углублена в меловой материк, на фоне которого четко прослеживался ее контур. Яма имела круглую в плане и цилиндрическую в поперечном сечении форму. Она была заполнена гумусом, осветленным мелом. В заполнении встречено небольшое количество находок, представленных колотыми костями животных и фрагментами керамики СМК. Через дно ямы проходила трещина в меловом материке.
Хозяйственная яма 3. Обнаружена в квадратах Е-Ж-4-5 (рис. 14, 4). Яма имела прямоугольную форму и была ориентировала длинной осью СВ-ЮЗ. Она была впущена из слоя гумуса и четко фиксировалась на уровне предматерика. Яма имела гумусное заполнение, в котором изредка встречались небольшие пятнышки меловой крошки. Находки в заполнении археологического комплекса отсутствовали. Практически все предметы, обнаруженные в яме, были найдены на дне или у дна. Среди них – колотые кости животных, фрагменты гончарных керамических сосудов и железное тес-ло-мотыжка. Среди керамики выделяется фрагмент дна крупного красноглиняного сосуда. Скорее всего, он является частью сосуда, близкого по виду амфоровидному кувшину, найденному в скоплении 1 раскопа 10. Кроме этого, в яме найдены обломки верхней части сероглиняного лощеного кувшина, фрагменты двух горшков с полосчатым рифлением по корпусу. Один горшок (рис. 27, 1) реконструирован почти полностью.
Тесло-мотыжка имело несомкнутую втулку и желобчатое лезвие с загнутыми вверх краями (рис. 35, 7). По форме лезвия оно более напоминает токарный резец, чем тесло. Подобной формы “тесла” известны среди материалов соседнего городища у с. Маяки. Есть они и на древнерусских памятниках, относящихся к более позднему времени.
Завершая описание материалов исследованного участка, на котором располагались раскопы 9-10, можно сказать следующее. Культурный слой хазарского времени отличается слабой насыщенностью. Здесь мало обнаружено как фрагментов керамики, так и костей животных. Железные предметы, напротив, встречаются относительно часто. Археологические комплексы, исследованные на данном участке, также содержат в заполнении очень мало материала. Мало находок встречено и в засыпке расположенного здесь помещения 9. По нашему мнению, все это свидетельствует о том, что на данной территории не жили. К этому необходимо добавить тот факт, что обе раскопанные здесь постройки представляют собой хозяйственные сооружения. Обращают внимание и значительные размеры расположенных в ряд хозяйственных ям.
Вне сомнений, расположенный рядом с линией укреплений участок, на котором располагались раскопы 9-10, являлся хозяйственным. В пользу этого свидетельствует керамический материал свалок, а также керамика, содержащаяся в заполнении отдельных хозяйственных комплексов. Абсолютное большинство ее представлено фрагментами крупных тарных сосудов: обломками груболепных пифосов, гончарных пифосов, корчаг и причерноморских амфор. Показательно присутствие среди материала свалок обломков керамических баклажек, что, впрочем, может объясняться наличием на этом участке памятника ранних его слоев.
Вышесказанное, равно как и близость линии укреплений, крупные размеры хозяйственных ям и расположение последних в ряд, может свидетельствовать в пользу того, что указанный хозяйственный комплекс представлял собой общественные хранилища, где сберегались продукты на случай осады.
К раннему горизонту на данном участке относилась группа хозяйственных ям, построенных, по всей видимости, сразу после сооружения линии укреплений. В пользу этого может говорить тот факт, что выкид одной из ям лежит непосредственно на материке. В дальнейшем, когда ямы осыпались, к северу от них было построено хозяйственное помешение 9. Часть наполовину заплывших ям была засыпана отвалами из котлована этого пометения. Часть же их почти полностью заплыла, а затем была перекрыта слоем свалки мусора, состоящего в основном из обломков тарных сосудов.
По всей видимости, самым поздним на этом участке являлось помещение 10. Этот комплекс, также хозяйственный, располагался в стороне от основной группы сооружений раскопа и содержал, кроме прочих находок, фрагменты стеклянной посуды и горлышко кувшина с плоской ручкой.
МОГИЛЬНИК 1
В 2003 г были возобновлены исследования могильника 1. Необходимость проведения этих работ была обусловлена сильными разрушениями, связанными с регулярной подчисткой бульдозером грунтовых дорог, проходящих через территорию могильника, и последующим разрушением этих участков сточными водами и прочими эрозийными процессами. Ситуация усложняется поисками “сокровищ” местными и приезжими “любителями старины”. Последними был полностью уничтожен ряд могил на северо-восточной части некрополя.
Погребения, расчищенные в 2003 г, располагались тремя группами. Одна из них, состоящая из 5 погребений (№№ 145-149), находилась на грунтовой дороге, идущей из с.Татьяновка в с.Сидорово. Эти погребения зафиксированы чуть ниже развилки дорог, идущих от хозяйственного двора филиала “Украина” на песчаный карьер с.Сидорово и из с. Сидорово в с. Татьяновку. Указанные погребения представляли собой единый ряд. Еще три погребения этого же ряда, расположенные к северу от указанной группы были уничтожены грабителями.
Вторая группа из двух могил (погр. 191-192) располагалась на развилке дорог, к северо-востоку от первой.
Обе эти группы были очень сильно повреждены. У могильных ям полностью срезаны заплечики, иногда повреждены и погребальные камеры. Кости погребенных обычно находятся в плохом состоянии и в различной степени повреждены. Как правило, особенно сильно пострадали черепа погребенных и кости ног. В одном случае (погр. 146) была полностью разрушена область таза. Третья, самая крупная группа могил, была расчищена в раскопе 11, расположенном на западной окраине могильника 1.
При описании погребений сохранена прежняя сквозная нумерация. Так как последнее погребение, расчищенное на могильнике 1 в 1997 г, имело № 144, первое погребение, раскопанное в 2003 г, имеет номер 145.
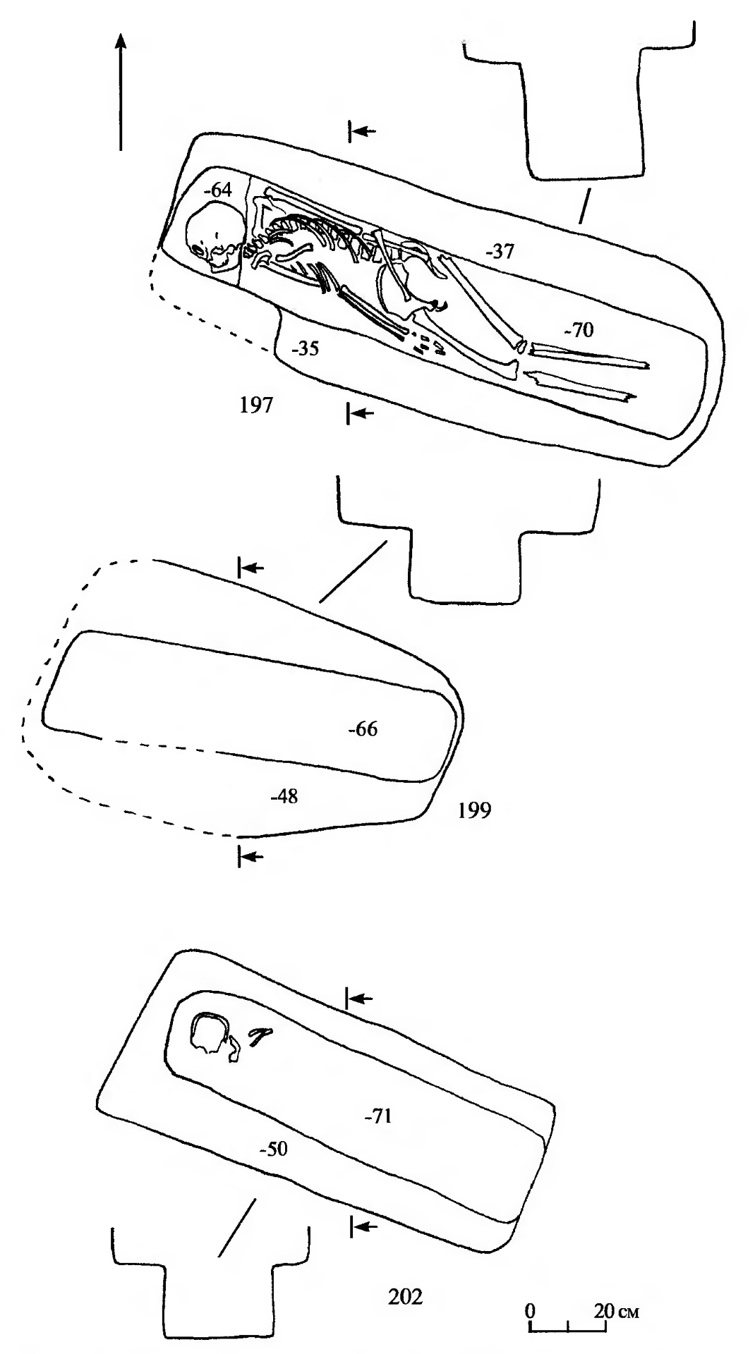
Погребение 145. Сохранилась погребальная камера, опущенная в грунт на уровень -0,23 м (рис. 50). Первоначальная глубина погребения составляла около 0,75 м. Из костей ребенка сохранились остатки черепа, плечевая кость руки, часть ребер и берцовые кости ног. Сильно разрушенный череп был развернут лицевой частью к югу и уложен на невысокую материковую “подушку” (высота до 0,08 м). Судя по остаткам скелета, погребенный лежал головой на запад, скорее всего, с разворотом на правый бок, лицом к югу. Инвентарь отсутствовал.
Погребение 146. Находилось в 1,25 м к северу от погребения 145 (рис.50). Сохранилась нижняя часть погребальной камеры, углубленной в дорогу на 0,20 м. Камера ориентирована своей длинной осью по линии ЗСЗ-ВЮВ, и, вероятно, первоначально имела прямоугольную форму. Сохранились верхняя часть скелета и берцовые кости ног. Погребенный был уложен на спине, лицом вверх, с вытянутыми вдоль туловища руками и вытянутыми ногами. Инвентарь отсутствовал.
Погребение 147. Обнаружено в 1,75 м к северу от погребения 146. Сохранилась погребальная камера овальной формы, ориентированная ЗСЗ-ВЮВ, углубленная в дорогу на 0,25 м (рис.50). Кости скелета сохранились плохо. Судя по ним, погребенный лежал на правом боку лицом к югу со слегка подогнутыми в коленях ногами. Инвентарь отсутствовал.
Погребение 148. Находилось в 1,25 м к северу от погребения 147. Сохранилась прямоугольная погребальная камера, ориентированная длинной осью по линии СЗ-ЮВ, углубленная в дорогу на 0,32 м (рис. 50). Погребенный был уложен головой на СЗ на правом боку и опирался спиной на северо-восточную стенку камеры. Судя по положению черепа, под ним была земляная подсыпка или подушка, имевшая высоту до 0,1 м. Правая рука скелета вытянута, кости предплечья – под спиной, кисть лежит за костями таза. Левая – также вытянута. Кости кисти лежали за левым крылом таза. Кости ног были несколько смещены, по-видимому, во время разрушения связок. Непотревоженными сохранились берцовые кости правой ноги. Кости левой ноги смещены. Бедренная перевернута, а берцовые лежат южнее соответствующих костей правой ноги, параллельно им. Судя по всему, бедренные кости первоначально пересекались в коленях, а берцовые лежали параллельно друг другу. Инвентаря нет.
Погребение 149. Обнаружено в 0,75 м к северу от погребения 148. Сохранилась погребальная камера прямоугольной формы, ориентированная длинной осью по линии 3-В с небольшим отклонением к Ю (рис. 50). Западная ее стенка имеет неглубокий подбой (0,1-0,12 м). Могила была перекрыта продольными досками, о чем свидетельствуют их остатки на дне ямы. Скелет лежал на правом боку. Череп развернут лицевой частью к югу. Левая рука вытянута вдоль туловища, слегка согнута в локте, кости кисти - на тазе, в районе головки правой бедренной кости. Правая рука вытянута вдоль туловища и слегка согнута в локте. Кости кисти находятся под правым крылом таза. Ноги вытянуты: правая лежит прямо, левая завалена на правый бок. Кости стоп повернуты на правый бок. Инвентаря нет.











